2026年2月13日付けでキヤノンの気になる特許出願が公開。「7-14mm F2.8-3.5」「7-14mm F4」など魚眼ズームレンズを想定した光学系の実施例を複数掲載しています。「RF7-14mm F2.8-3.5 L FISHEYE STM」関連でしょうか。
概要
- 【公開番号】P2026024167
- 【公開日】2026-02-13
- 【発明の名称】レンズ装置およびそれを有する撮像装置
- 【出願日】2024-08-02
- 【出願人】
【識別番号】000001007
【氏名又は名称】キヤノン株式会社- 【課題】 広画角でありながら小型なレンズ装置を提供することである。
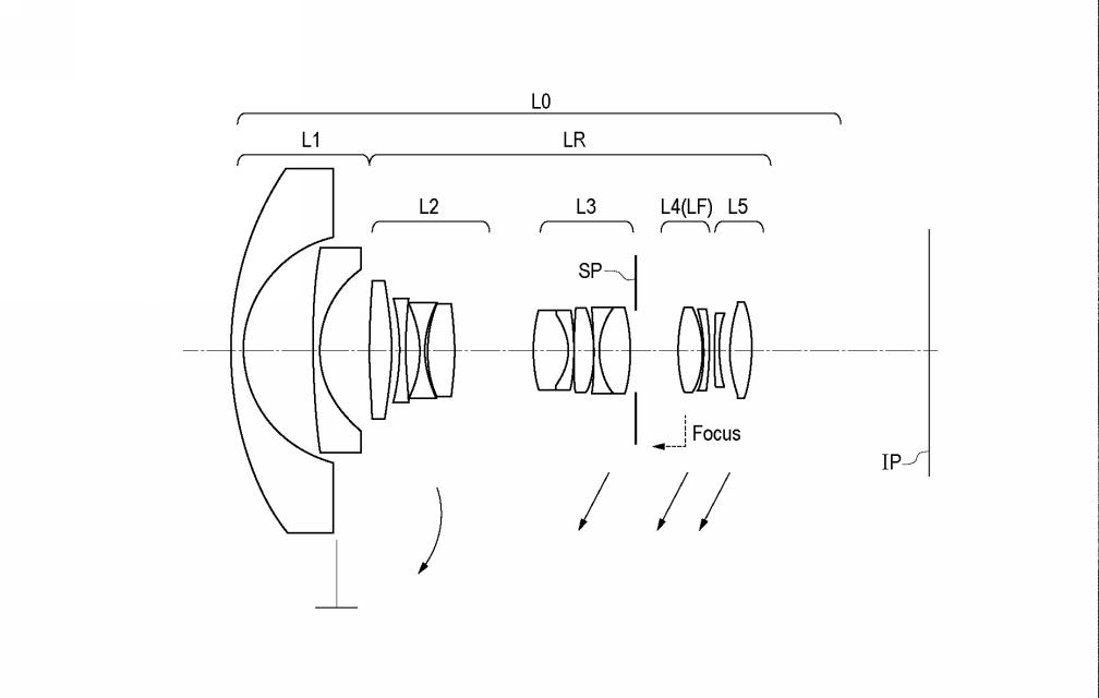
実施例1
- 焦点距離:6.81-13.00
- F値:2.85-3.60
- 半画角:58.57-57.85
- 像高:11.15-21.64
- 全長:127.71
- バックフォーカス:30.73-49.42
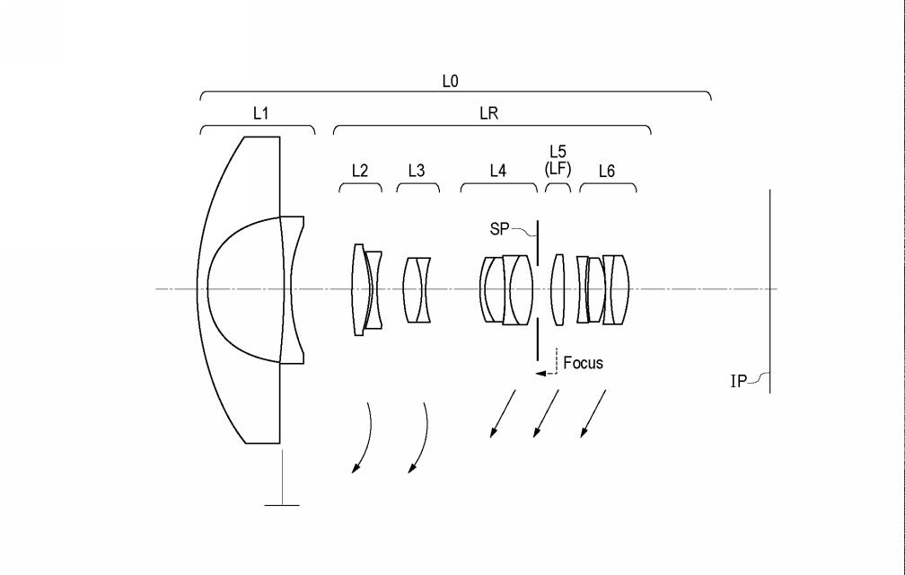
実施例4
- 焦点距離:7.22-14.86
- F値:2.88-4.12
- 半画角:56.10-55.46
- 像高:10.75-21.60
- 全長:128.99
- バックフォーカス:32.52-49.78
実施例5
- 焦点距離:7.24-14.69
- F値:4.10
- 半画角:56.05-55.77
- 像高:10.75-21.60
- 全長:127.38
- バックフォーカス:32.32-51.25
キヤノン RF7-14mm F2.8-3.5 L FISHEYE STM 最新情報まとめ
- 発売日:2026年2月20日
- 予約開始日:2026年2月10日(火)AM10:00
- 希望小売価格:オープン
- キヤノンオンラインショップ:258,000円
RFマウント初となる超広角魚眼ズームレンズ。
「従来のEF8-15mm F4L USM」の後継に位置づけられ、最大190度という世界最広角クラスの画角と、同社史上最も明るい超広角設計を実現。7mmでは円周魚眼、ズームにより対角魚眼へと変化し、用途に応じた表現が可能。
光学系にはUDレンズや非球面レンズを採用し、高い描写性能を確保。背面にはドロップイン式フィルターホルダーを備え、偏光や可変NDフィルターの使用にも対応しています。小型軽量設計と高速・静音AFを両立し、スポーツや風景、VR撮影など幅広い分野での活用が期待されています。
販売価格は一眼レフ用よりも高くなりましたが、全体的に開放F値が小さくなり、ドロップインフィルターなどの追加機能も考慮すると許容範囲内でしょうか。
| RF7-14mm F2.8-3.5 L FISHEYE STM | |||
| 楽天市場 |
Amazon | キタムラ |
|
| ビックカメラ | マップカメラ | ||
| メルカリ |
キタムラで中古在庫を探す |
||
| レンズフード EW-76 | |||
| 楽天市場 |
Amazon | キタムラ |
|
| レンズキャップ7-14 | |||
| 楽天市場 |
Amazon | キタムラ |
|
| ドロップイン 円偏光フィルター A | |||
| 楽天市場 |
Amazon | キタムラ |
|
| ドロップイン クリアフィルター A | |||
| 楽天市場 |
Amazon | キタムラ |
|
| ドロップイン 可変式NDフィルター A | |||
| 楽天市場 |
Amazon | キタムラ |
|
特許関連記事
- シグマ「85mm F1.2」「105mm F1.4」「135mm F1.4」光学系の特許出願
- シグマ「125-700mm F6.3-9」「150-600mm F5-6.3」光学系の特許出願
- XF23mmF2.8 R WR関連と思われる光学系の特許出願
- キヤノン「130mm F1.8」「300mm F2.8」「500mm F5.6」光学系の特許出願
- キヤノン「85mm F1.4」「135mm F2.0」「55mm F1.8」光学系の特許出願
- タムロン 90mm F/2.8 Di III MACRO VXD と思われる光学系の特許出願
- シグマ「135mm F1.4」「180mm F1.4」「100mm F1.25」光学系の実施例
- キヤノン「10mm F2.8」「12mm F2.8」「18mm F2.8」「28mm F2.8」光学系の特許出願
- ニコン 空冷用ファンを搭載するカメラに関する特許出願
- ニコン「18mm F1.2」「24mm F1.2」「35mm F1.4」を想定したような光学系の特許出願
広告
*手動広告を試験的に導入しています。
![]()
期間限定セール
- OM SYSTEM ストア がホタル撮影特集で10%オフクーポンを配布中 / 対象製品一覧
- OM SYSTEM ブランドの双眼鏡が10%オフで購入できるクーポンを配布中
- Amazon初夏のお買い得SALE~6月2 / まとめ記事
- SmallRig 最大30%オフ 初夏ビックセール -6/2
- Antigravity A1 20%オフ
アウトレットなど
キャッシュバック
カメラメーカー直販・店舗リンク(楽天市場)


