2025年10月15日付けソニーの気になる特許が発行されています。キヤノンのように、ファインダー使用時に視線入力でAFエリアを指定できるようにするための構造に関する技術のようです。
概要
- 【登録日】2025-10-06
- 【発行日】2025-10-15
- 【発明の名称】ファインダー及び撮像装置
- 【出願番号】P 2023506776
- 【出願日】2022-01-11
- 【特許権者】
【識別番号】000002185
【氏名又は名称】ソニーグループ株式会社- 【技術分野】
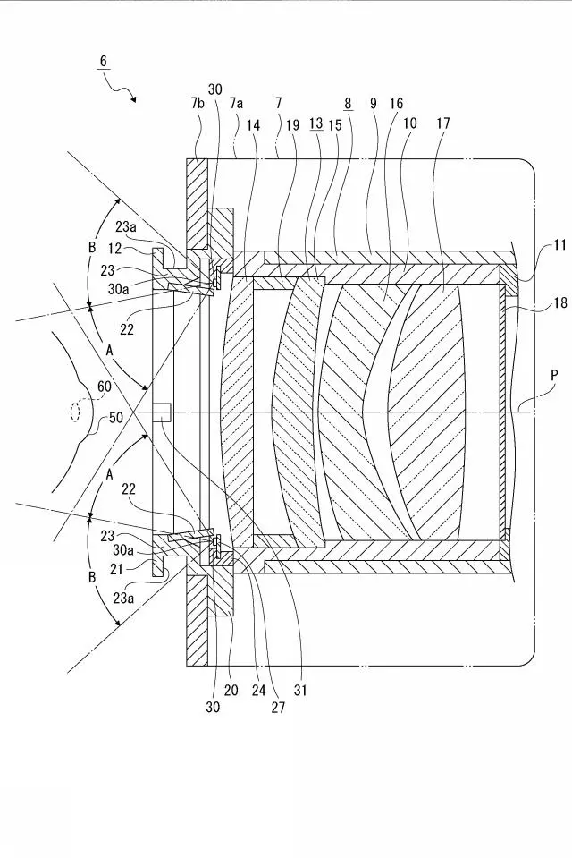
【0001】
本技術は撮影時に被写体の画像を写し出すファインダー及びこれを備えた撮像装置についての技術分野に関する。- 【背景技術】
【0002】
ビデオカメラやスチルカメラ等の撮像装置には、撮影時に被写体の画像を写し出すファインダーが設けられているものがある。ファインダーは、撮像装置における撮影前の視覚的な構図の決定を行うためや撮影前後の画像の確認や焦点を合わせるために使用され、覗き窓として設けられたり、モニター(ディスプレイ)として設けられたりする。- 【0003】
このようなファインダーには、撮影時等においてオートフォーカスを行うために、使用者の視線を検出する視線検出装置が設けられているものがある(例えば、特許文献1、特許文献2及び特許文献3参照)。- 【0004】
このような視線検出装置による検出結果に基づくオートフォーカスは、発光部から発せられた赤外光等の検出光が角膜で反射され、反射された検出光が受光部によって受光され、受光された検出光に基づいて瞳孔の位置が算出されることにより実行される。- 【0009】
ところで、上記のような視線検出装置がファインダーに組み込まれる構成においては、ファインダーの内部に視線検出装置の各部を配置するための配置スペースが必要であるため、その分、ファインダーが大型になり易く、ファインダーが設けられた撮像装置の全体も大型化し易くなってしまう。- 【0011】
一方、上記のような視線検出装置による視線の検出において、発光部から発せられた検出光が角膜の広い範囲に分布してしまうと、角膜で反射された検出光が瞼や眼の形状等の個人差等によって遮られ易くなり、受光部において検出光が受光されずオートフォーカスが適正に行われなくなるおそれがある。- 【0012】
従って、視線検出装置においては、発光部から発せられた検出光が角膜の狭い範囲、特に、瞳孔付近に分布するように構成されることが望ましい。- 【0013】
このような発光部から発せられた検出光の角膜の狭い範囲への分布は、発光部が接眼光学系の光軸に近付いた位置に配置されることにより達成することが可能であるが、発光部が接眼光学系の光軸に近付いた位置に配置されると、発光部によって撮影者の視野が遮られ撮影に支障を来すおそれがある。- 【0014】
そこで、本技術ファインダー及び撮像装置は、大型化を来すことなく視線検出に関する検出精度の向上を図ることを目的とする。
視線入力AFと言えばEOS R5 Mark II やEOS R1が有名ですが、ソニーも似たような機能を検討していたのでしょうか。今のところ商品化はされていませんが、ソニーらしく小型化した視線入力機能を実現するかもしれませんね。
| EOS R5 Mark II ボディ | |||
| 楽天市場 |
Amazon |
キタムラ |
|
| ビックカメラ | マップカメラ | ||
| メルカリ |
キタムラで中古在庫を探す |
||
| EOS R5 Mark II レンズキット | |||
| 楽天市場 |
Amazon |
キタムラ |
|
| ビックカメラ | マップカメラ | ||
| メルカリ |
キタムラで中古在庫を探す |
||

特許関連記事
- シグマ「85mm F1.2」「105mm F1.4」「135mm F1.4」光学系の特許出願
- シグマ「125-700mm F6.3-9」「150-600mm F5-6.3」光学系の特許出願
- XF23mmF2.8 R WR関連と思われる光学系の特許出願
- キヤノン「130mm F1.8」「300mm F2.8」「500mm F5.6」光学系の特許出願
- キヤノン「85mm F1.4」「135mm F2.0」「55mm F1.8」光学系の特許出願
- タムロン 90mm F/2.8 Di III MACRO VXD と思われる光学系の特許出願
- シグマ「135mm F1.4」「180mm F1.4」「100mm F1.25」光学系の実施例
- キヤノン「10mm F2.8」「12mm F2.8」「18mm F2.8」「28mm F2.8」光学系の特許出願
- ニコン 空冷用ファンを搭載するカメラに関する特許出願
- ニコン「18mm F1.2」「24mm F1.2」「35mm F1.4」を想定したような光学系の特許出願
広告
*手動広告を試験的に導入しています。
![]()
期間限定セール
- OM SYSTEM ストア がホタル撮影特集で10%オフクーポンを配布中 / 対象製品一覧
- OM SYSTEM ブランドの双眼鏡が10%オフで購入できるクーポンを配布中
- Amazon初夏のお買い得SALE~6月2 / まとめ記事
- SmallRig 最大30%オフ 初夏ビックセール -6/2
- Antigravity A1 20%オフ
アウトレットなど
キャッシュバック
カメラメーカー直販・店舗リンク(楽天市場)