2026年4月21日付けでキヤノンの気になる特許出願が公開。「85mm F1.4」を想定したような光学系のほか、「130mm F1.8」「300mm F2.8」「500mm F5.6」を意識したような実施例を掲載しています。
概要
- 【公開番号】P2026067609
- 【公開日】2026-04-21
- 【出願日】2024-10-09
- 【出願人】
【識別番号】000001007
【氏名又は名称】キヤノン株式会社- 【課題】 小型軽量で諸収差が良好に補正された光学系を提供することが求められている。
- 【背景技術】
【0002】
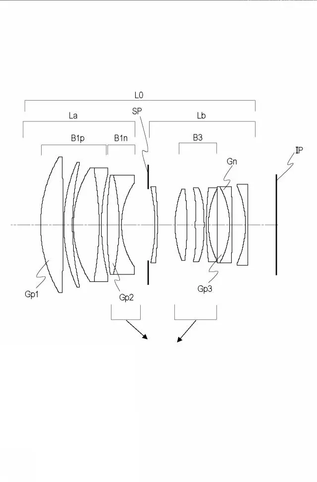
従来から、デジタルビデオカメラやデジタルスチルカメラ等に適した光学系が提案されている。例えば特許文献1である。このような光学系においては、小型軽量で諸収差が良好に補正された光学系が求められている。実施例1
- 焦点距離:81.47
- F値:1.44
- 半画角:14.87
- 像高:21.64
- 全長:106.92
- バックフォーカス:12.87
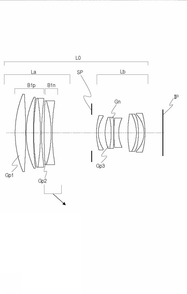
実施例2
- 焦点距離:128.00
- F値:1.80
- 半画角:9.59
- 像高:21.64
- 全長:145.81
- バックフォーカス:17.45
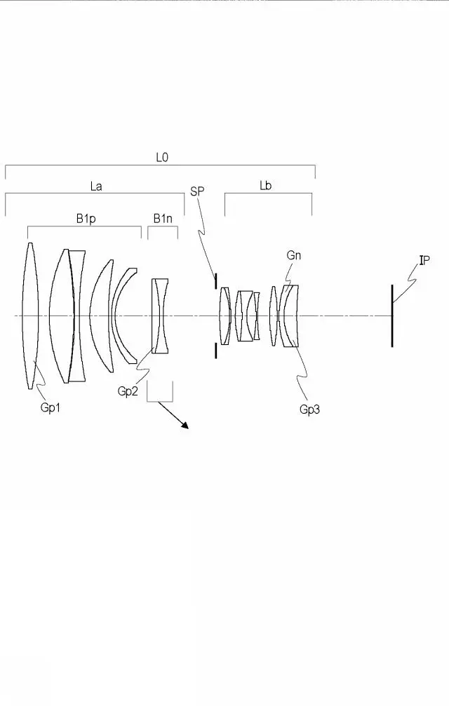
実施例3
- 焦点距離:292.53
- F値:2.90
- 半画角:4.23
- 像高:21.64
- 全長:273.24
- バックフォーカス:70.38
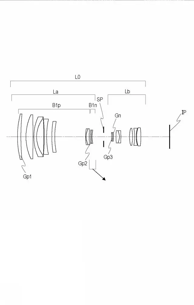
実施例4
- 焦点距離:482.00
- F値:5.83
- 半画角:2.57
- 像高:21.64
- 全長:296.64
- バックフォーカス:56.06
| RF85mm F1.4 L VCM | |||
| 楽天市場 |
Amazon | キタムラ | |
| ビックカメラ | マップカメラ | ||
| メルカリ |
キタムラで中古在庫を探す |
||
| RF400mm F2.8 L IS USM | |||
| 楽天市場 |
Amazon |
キタムラ |
|
| キタムラで中古品を探す |
|||
特許関連記事
- キヤノン「20-50mm F4 IS」「20-60mm F4 IS」「16-35mm F4 IS」光学系の特許出願
- シグマ「85mm F1.2」「105mm F1.4」「135mm F1.4」光学系の特許出願
- シグマ「125-700mm F6.3-9」「150-600mm F5-6.3」光学系の特許出願
- XF23mmF2.8 R WR関連と思われる光学系の特許出願
- キヤノン「130mm F1.8」「300mm F2.8」「500mm F5.6」光学系の特許出願
- キヤノン「85mm F1.4」「135mm F2.0」「55mm F1.8」光学系の特許出願
- タムロン 90mm F/2.8 Di III MACRO VXD と思われる光学系の特許出願
- シグマ「135mm F1.4」「180mm F1.4」「100mm F1.25」光学系の実施例
- キヤノン「10mm F2.8」「12mm F2.8」「18mm F2.8」「28mm F2.8」光学系の特許出願
- ニコン 空冷用ファンを搭載するカメラに関する特許出願
広告
*手動広告を試験的に導入しています。
![]()
期間限定セール
- OM SYSTEM ストア がホタル撮影特集で10%オフクーポンを配布中 / 対象製品一覧
- OM SYSTEM ブランドの双眼鏡が10%オフで購入できるクーポンを配布中
- Amazon初夏のお買い得SALE~6月2 / まとめ記事
- SmallRig 最大30%オフ 初夏ビックセール -6/2
- Antigravity A1 20%オフ
アウトレットなど
キャッシュバック
カメラメーカー直販・店舗リンク(楽天市場)



