2025年1月14日付けでキヤノンの気になる特許出願が公開。レンズ内蔵エクステンダ装置について、手動制御と電動制御を両立させる技術のようです。カメラ側で制御できるようになると便利そうですねえ。
概要
- 【公開番号】P2026003647
- 【公開日】2026-01-14
- 【発明の名称】電動操作装置、およびレンズ装置
- 【出願日】2024-06-25
- 【出願人】
【識別番号】000001007
【氏名又は名称】キヤノン株式会社- 【課題】 レンズ装置の電動操作と手動操作を両立させる点で有利な技術を提供する。
- 【背景技術】
【0002】
従来のエクステンダ装置は、撮影者が操作部を操作することでレンズ群を光軸に対して挿脱し、焦点距離を切り替える構造が提案されている。特許文献1では、撮影者が手動操作部を操作することでレンズ群を保持するレンズ支持部材が回転し、端位置に設けられたストッパーにレンズ支持部材が当接することでレンズ群を光軸上に保持する構造が開示されている。特許文献2ではレンズ装置にエクステンダ操作装置を連結し、エクステンダ操作装置でエクステンダ装置の手動操作部を操作することで、変倍レンズの挿入、退避を切り換える構成が提案されている。特許文献3では、遠隔操作用の操作部材をエクステンダユニットに取り付けることにより、変倍レンズの進退移動を手動と電動で切り替えることができるエクステンダ操作装置が開示されている。- 【課題を解決するための手段】
【0006】
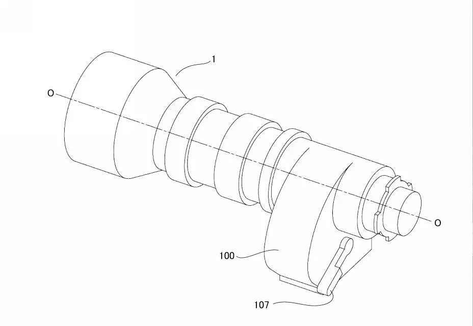
上記課題を解決するために、本発明は、操作部と、レンズ群を支持し、前記操作部を回転操作することでレンズ装置の光軸上に前記レンズ群を挿入させた挿入位置と前記光軸上から前記レンズ群を退避させた退避位置との間で移動するレンズ支持部材と、を有するレンズ装置の前記操作部を電動で操作する電動操作装置であって、前記電動操作装置を前記レンズ装置に取り付けた状態で前記操作部の少なくとも一部は前記電動操作装置の外装から露出し、前記操作部を手動操作することが可能であることを特徴とする。
内蔵エクステンダの電動制御装置は外付けを考えている模様。一部のRFズームレンズに対応するパワーズームアダプターのような装置となるのでしょうか。便利そうではありますが、それなりの追加重量となりそう。三脚据え置きの遠隔制御用としては面白い選択肢かもしれません。
また、キヤノンが将来的にどのようなエクステンダ内蔵レンズを投入するのかも気になるところ。
| RF100-300mm F2.8 L IS USM | |||
| 楽天市場 |
Amazon |
キタムラ |
|
| ビックカメラ | マップカメラ | ||
| キタムラで中古在庫を探す |
|||
| レンズキャップ E-112 | |||
| 楽天市場 |
Amazon |
キタムラ |
|
| キタムラで中古在庫を探す |
|||
| レンズフード ET-124 | |||
| 楽天市場 |
Amazon |
キタムラ |
|
| キタムラで中古在庫を探す |
|||
特許関連記事
- キヤノン「130mm F1.8」「300mm F2.8」「500mm F5.6」光学系の特許出願
- キヤノン「85mm F1.4」「135mm F2.0」「55mm F1.8」光学系の特許出願
- タムロン 90mm F/2.8 Di III MACRO VXD と思われる光学系の特許出願
- シグマ「135mm F1.4」「180mm F1.4」「100mm F1.25」光学系の実施例
- キヤノン「10mm F2.8」「12mm F2.8」「18mm F2.8」「28mm F2.8」光学系の特許出願
- ニコン 空冷用ファンを搭載するカメラに関する特許出願
- ニコン「18mm F1.2」「24mm F1.2」「35mm F1.4」を想定したような光学系の特許出願
- キヤノン「14mm F1.4」「18mm F1.4」「35mm F1.8」光学系の特許出願
- ニコン「35mm F1.2」「35mm F1.2」「50mm F1.4」光学系の特許出願
- キヤノン 反射透過面を用いた「28-45mm F1.2」「35-70mm F1.4」光学系の特許出願
広告
*手動広告を試験的に導入しています。 ![]()
期間限定セール
【新製品】
アウトレットなど
キャッシュバック
カメラメーカー直販・店舗リンク(楽天市場)

