2026年1月19日付けでコシナの気になる特許出願が公開。「90mm F2」「100mm F2」「35mm F2」を想定したと思われる光学系の実施例を掲載。90mmは「APO-ULTRON 90mm F2」のようですね。
概要
- 【公開番号】P2026008235
- 【公開日】2026-01-19
- 【発明の名称】撮像レンズ
- 【出願日】2024-07-05
- 【出願人】
【識別番号】391044915
【氏名又は名称】株式会社コシナ- 【課題】 軸上色収差を低減し、高解像度を確保するとともに、併せて球面収差やコマ収差を良好に低減する。
- 【背景技術】
【0002】
従来、大口径かつコンパクトな中望遠用交換レンズとしては、特許文献1に記載される撮像レンズが知られている。- 【0005】
しかし、上述した特許文献1に開示される撮像レンズは、次のような解決すべき課題も存在した。- 【0006】
即ち、中望遠域において大口径化を図る場合、軸上色収差による解像度の劣化が顕著になる問題がある。通常、軸上色収差を改善するには、正レンズに低分散性硝材を使用することが多いが、低分散性硝材の場合、コマ収差の発生が顕著になるとともに、ペッツバール和が増大する難点がある。- 【0007】
一方、コマ収差や球面収差を低減し、更にはペッツバール和を低減するために、高屈折率ガラスを使用した場合もあるが、反面、分散性が高くなり、軸上色収差が大きくなるとともに、解像度の低下を招く問題を生じる。- 【0008】
結局、大口径かつコンパクトな中望遠用の撮像レンズを構築する場合、軸上色収差を低減して高解像度を確保するとともに、併せて球面収差やコマ収差を低減することは容易でなく、従来より、これらの諸収差を低減することにより全体の光学性能を高め、加えて、レンズ全体のコンパクト化やサイズダウン、及び軽量化を実現するための新たな撮像レンズの実用化が要請されていた。- 【0009】
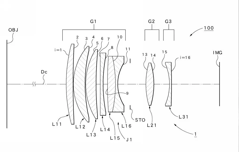
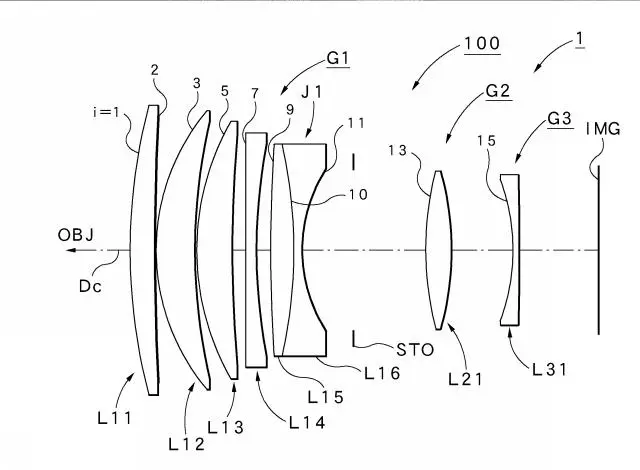
本発明は、このような背景技術に存在する課題を解決した撮像レンズの提供を目的とするものである。実施例1
- 焦点距離:87.28
- F値:2.05
- 半画角:13.71
- 像高:
- 全長:60.38
- バックフォーカス:27.40
実施例2
- 焦点距離:97.41
- F値:2.06
- 半画角:12.34
- 像高:
- 全長:67.85
- バックフォーカス:29.99
実施例3
- 焦点距離:36.08
- F値:2.01
- 半画角:21.28
- 像高:
- 全長:37.88
- バックフォーカス:12.49
実施例1は「APO-ULTRON 90mm F2 VM」を想定したものと思われますが、100mm F2や35mm F2の光学系は不明。商品化されることはないと思いますが、100mm F2 ULTRONは見てみたい気もします。
コシナ APO-ULTRON 90mm F2 VM 最新情報まとめ
| APO-ULTRON 90mm F2 VM シルバー | |||
| 楽天市場 |
Amazon |
キタムラ |
|
| ビックカメラ | マップカメラ | ||
| メルカリ |
キタムラで中古在庫を探す |
||
| APO-ULTRON 90mm F2 VM ブラック | |||
| 楽天市場 |
Amazon |
キタムラ |
|
| ビックカメラ | マップカメラ | ||
| メルカリ |
キタムラで中古在庫を探す |
||
特許関連記事
- キヤノン「130mm F1.8」「300mm F2.8」「500mm F5.6」光学系の特許出願
- キヤノン「85mm F1.4」「135mm F2.0」「55mm F1.8」光学系の特許出願
- タムロン 90mm F/2.8 Di III MACRO VXD と思われる光学系の特許出願
- シグマ「135mm F1.4」「180mm F1.4」「100mm F1.25」光学系の実施例
- キヤノン「10mm F2.8」「12mm F2.8」「18mm F2.8」「28mm F2.8」光学系の特許出願
- ニコン 空冷用ファンを搭載するカメラに関する特許出願
- ニコン「18mm F1.2」「24mm F1.2」「35mm F1.4」を想定したような光学系の特許出願
- キヤノン「14mm F1.4」「18mm F1.4」「35mm F1.8」光学系の特許出願
- ニコン「35mm F1.2」「35mm F1.2」「50mm F1.4」光学系の特許出願
- キヤノン 反射透過面を用いた「28-45mm F1.2」「35-70mm F1.4」光学系の特許出願
広告
*手動広告を試験的に導入しています。 ![]()
期間限定セール
【新製品】
アウトレットなど
キャッシュバック
カメラメーカー直販・店舗リンク(楽天市場)


