このページでは「Noctilux-M 35mm f/1.2 ASPH.」に関する情報を収集しています。
データベース
最新記事
- DPReviewがNoctilux-M 35mm f/1.2 ASPH.のサンプルギャラリーを公開 2026年2月2日
- 性能と描写に見合う価値がある|Noctilux-M 35mm f/1.2 ASPH. 2026年1月30日
- ライカ ノクティルックスM f1.2/35 ASPH. 最新情報まとめ 2026年1月30日
レビュー
- KeithWee
- Leica Forum
- Milan swolfs
- PetaPixel
(抄訳記事) - ThePhoblographer
- 価格.com
レビュー/口コミ
作例
- 公式
参考サイト
購入早見表
- 予約開始:2026年1月30日(金)午前10時
- B&H:9,650ドル
| ノクティルックスM f1.2/35 ASPH. | |||
| 楽天市場 |
Amazon | キタムラ | |
| ビックカメラ | マップカメラ | ||
| メルカリ |
キタムラで中古在庫を探す |
||
レンズデータ
「ライカ ノクティルックスM f1.2/35 ASPH.」は、伝説的なノクティルックスの明るさと、35mm単焦点レンズが持つ優れた汎用性の2つを兼ね備えたレンズです。
最短撮影距離わずか50cm、極めて浅い被写界深度を持ち、なめらかで美しいボケ味とやや広めの画角が生み出す表現力によって、被写体、アクション、シーンとの親密なつながりを演出します。
ウェッツラーでの手作業がもたらす精度、そして最新技術の2つによって、最低限の光でも卓越した光学性能を発揮、いかなる光源下でも、さらに自由な撮影を実現します。
レンズ仕様
| レンズマウント | Leica M |
| 対応センサー | フルサイズ |
| 焦点距離 | 35mm |
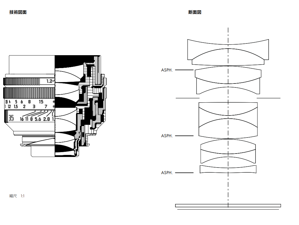
| レンズ構成 | 5群10枚 |
| 開放絞り | F1.2 |
| 最小絞り | F16 |
| 絞り羽根 | 11枚 |
| 最短撮影距離 | 0.5m |
| 最大撮影倍率 | 0.09倍 |
| フィルター径 | 49mm |
| 手振れ補正 | - |
| テレコン | - |
| コーティング | 情報なし |
| サイズ | φ64.6×50.2mm |
| 重量 | 416g |
| 防塵防滴 | - |
| レンズフード | 組み込み式 |
MTFチャート

レンズ構成図
