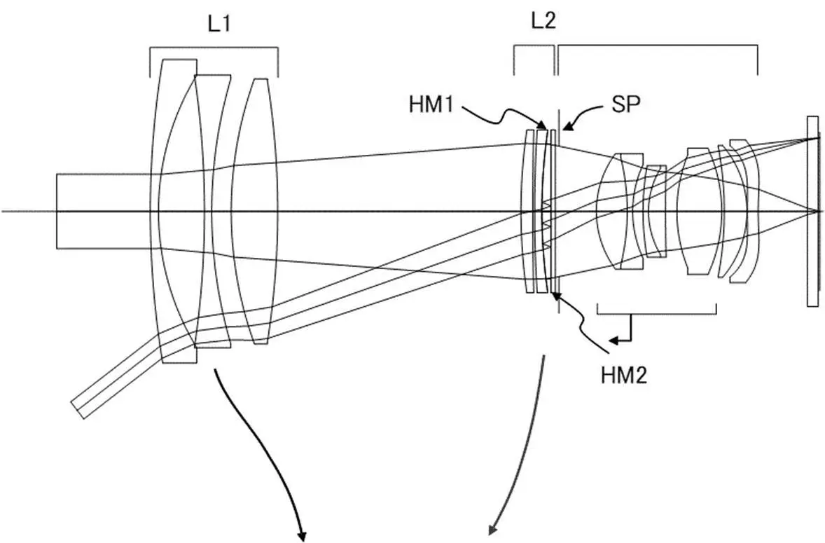
2026年2月27日付けでキヤノンの気になる特許出願が公開。反射透過面を用いた「28-45mm F1.2」「35-70mm F1.4」の超大口径ズームレンズのようですね。ただし、バックフォーカスが短いのでレンズ交換式は想定してなさそうです。
概要
- 【公開番号】P2026033938
- 【公開日】2026-02-27
- 【発明の名称】結像光学系及びそれを有する撮像装置
- 【出願日】2024-08-16
- 【出願人】
【識別番号】000001007
【氏名又は名称】キヤノン株式会社- 【課題】小型化と高い光学性能とを両立させることが可能な結像光学系を提供すること。
- 【背景技術】
【0002】- 【0003】
一般に、単焦点レンズに比べてズームレンズは設計及び製造の難易度が高いため、小型化と高い光学性能との両立が難しい。
撮像装置等に用いられる結像光学系(撮像光学系)の小型化が求められている。- 【課題を解決するための手段】
【0004】
本発明の一側面としての結像光学系は、結像光学系は、複数のレンズ群を有する光学系であって、複数のレンズ群のうち隣り合うレンズ群の間隔は、ズーミングに際して変化し、複数のレンズ群は、負の屈折力の第1のレンズ群と、第1のレンズ群よりも像側に配置された正の屈折力の第2のレンズ群とを含み、第1の透過反射面と、第1の透過反射面よりも像側に配置された第2の透過反射面とを備えることを特徴とする。実施例2
- 焦点距離:28.00-45.00
- F値:1.20
- 半画角:37.26-25.33
- 像高:21.30
- 全長:222.37-171.73
- バックフォーカス:0.40
実施例3
- 焦点距離:28.50-45.00
- F値:1.40
- 半画角:35.22-25.68
- 像高:20.12-21.64
- 全長:189.76-137.77
- バックフォーカス:0.40
実施例4
- 焦点距離:15.40-36.01
- F値:1.42
- 半画角:36.86-20.54
- 像高:11.54-13.49
- 全長:165.18
- バックフォーカス:0.40
実施例5
- 焦点距離:35.70-68.00
- F値:1.40
- 半画角:28.55-17.65
- 像高:19.42-21.64
- 全長:227.59
- バックフォーカス:0.70
実施例6
- 焦点距離:14.00-29.50
- F値:1.20
- 半画角:45.41-25.70
- 像高:14.20-14.20
- 全長:195.37-154.57
- バックフォーカス:0.40
実施例8
- 焦点距離:20.50-39.50
- F値:1.40
- 半画角:46.10-28.34
- 像高:21.30
- 全長:205.25-176.45
- バックフォーカス:0.40
過去にF1.0を超える(反射透過面を用いた)大口径の単焦点レンズを想定した光学系の特許を出願。今回はズームレンズのようですね。残存収差がそれなりに残っているので、浅い被写界深度が求められる撮影用を想定しているのか、細部が気にならない監視カメラ用でしょうか。
いずれにせよ、バックフォーカスが極端に短いのでレンズ交換式システム用ではありません。
特許関連記事
- キヤノン「130mm F1.8」「300mm F2.8」「500mm F5.6」光学系の特許出願
- キヤノン「85mm F1.4」「135mm F2.0」「55mm F1.8」光学系の特許出願
- タムロン 90mm F/2.8 Di III MACRO VXD と思われる光学系の特許出願
- シグマ「135mm F1.4」「180mm F1.4」「100mm F1.25」光学系の実施例
- キヤノン「10mm F2.8」「12mm F2.8」「18mm F2.8」「28mm F2.8」光学系の特許出願
- ニコン 空冷用ファンを搭載するカメラに関する特許出願
- ニコン「18mm F1.2」「24mm F1.2」「35mm F1.4」を想定したような光学系の特許出願
- キヤノン「14mm F1.4」「18mm F1.4」「35mm F1.8」光学系の特許出願
- ニコン「35mm F1.2」「35mm F1.2」「50mm F1.4」光学系の特許出願
- キヤノン 反射透過面を用いた「28-45mm F1.2」「35-70mm F1.4」光学系の特許出願
広告
*手動広告を試験的に導入しています。 ![]()
期間限定セール
【新製品】
アウトレットなど
キャッシュバック
カメラメーカー直販・店舗リンク(楽天市場)






