2025年3月25日付けでニコンの気になる特許出願が公開。分割特許ですが、興味深い内容だったのでピックアップ。カメラを冷却するための空冷構造に関する特許のようですね。
概要
- 【公開番号】P2026053524
- 【公開日】2026-03-25
- 【発明の名称】撮像装置
- 【出願日】2025-12-22
- 【分割の表示】P 2023559554の分割
【原出願日】2022-10-28- 【出願人】
【識別番号】000004112
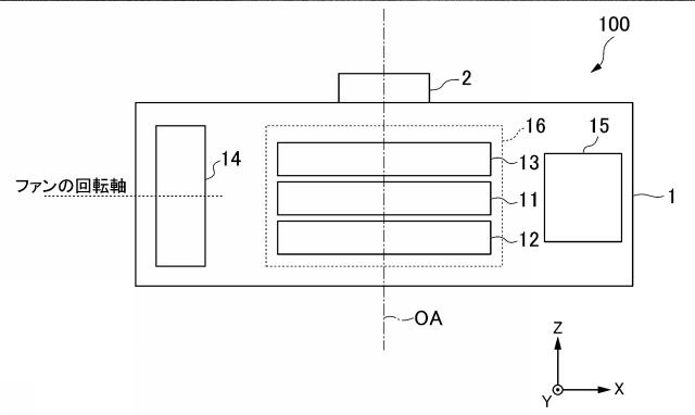
【氏名又は名称】株式会社ニコン- 【課題】ファンを有する放熱部が配置され、手持ちして撮影可能である、撮像装置を提供する。
- 【解決手段】撮像装置を横位置で構えた場合に下側から吸気し上側から排気する放熱部と、処理ユニットで発生した熱を、前カバー上部に伝熱する第1伝熱部材と、レンズユニットが着脱可能なレンズマウントと、を備え、放熱部は、撮影する場合にユーザが触れない部分に取り付けられ、伝熱部材の一部は処理ユニットの一主面と直交する面に沿って配置される。
既存の動画向けミラーレス「ZR」はファンレスの設計ですが、空冷を内蔵した高機能・高性能なミラーレスカメラを想定しているのでしょうか。ファンの取り付け方は数通りを実施例として挙げています。
| ZR ボディ | |||
| 楽天市場 |
Amazon |
キタムラ |
|
| ビックカメラ | マップカメラ | ||
| メルカリ |
キタムラで中古在庫を探す |
||
| ZR レンズキット | |||
| 楽天市場 |
Amazon |
キタムラ |
|
| ビックカメラ | マップカメラ | ||
| メルカリ |
キタムラで中古在庫を探す |
||
特許関連記事
- シグマ「85mm F1.2」「105mm F1.4」「135mm F1.4」光学系の特許出願
- シグマ「125-700mm F6.3-9」「150-600mm F5-6.3」光学系の特許出願
- XF23mmF2.8 R WR関連と思われる光学系の特許出願
- キヤノン「130mm F1.8」「300mm F2.8」「500mm F5.6」光学系の特許出願
- キヤノン「85mm F1.4」「135mm F2.0」「55mm F1.8」光学系の特許出願
- タムロン 90mm F/2.8 Di III MACRO VXD と思われる光学系の特許出願
- シグマ「135mm F1.4」「180mm F1.4」「100mm F1.25」光学系の実施例
- キヤノン「10mm F2.8」「12mm F2.8」「18mm F2.8」「28mm F2.8」光学系の特許出願
- ニコン 空冷用ファンを搭載するカメラに関する特許出願
- ニコン「18mm F1.2」「24mm F1.2」「35mm F1.4」を想定したような光学系の特許出願
広告
*手動広告を試験的に導入しています。
![]()
期間限定セール
- OM SYSTEM ストア がホタル撮影特集で10%オフクーポンを配布中 / 対象製品一覧
- OM SYSTEM ブランドの双眼鏡が10%オフで購入できるクーポンを配布中
- Amazon初夏のお買い得SALE~6月2 / まとめ記事
- SmallRig 最大30%オフ 初夏ビックセール -6/2
- Antigravity A1 20%オフ
アウトレットなど
キャッシュバック
カメラメーカー直販・店舗リンク(楽天市場)


