2025年11月7日付けでパナソニックの気になる特許出願が公開。「28mm F8」「22mm F5.6」「24mm F8」など小口径のコンパクトな広角レンズを想定しているようです。
概要
- 【公開番号】特開2025-167371(P2025-167371A)
- 【公開日】令和7年11月7日(2025.11.7)
- 【発明の名称】撮像光学系、撮像装置、および、カメラシステム
- 【出願日】令和6年4月25日(2024.4.25)
- 【出願人】
【識別番号】314012076
【氏名又は名称】パナソニックIPマネジメント株式会社- 【課題】諸収差を良好に補正できる撮像光学系、撮像装置とカメラシステムとを提供することを目的とする。
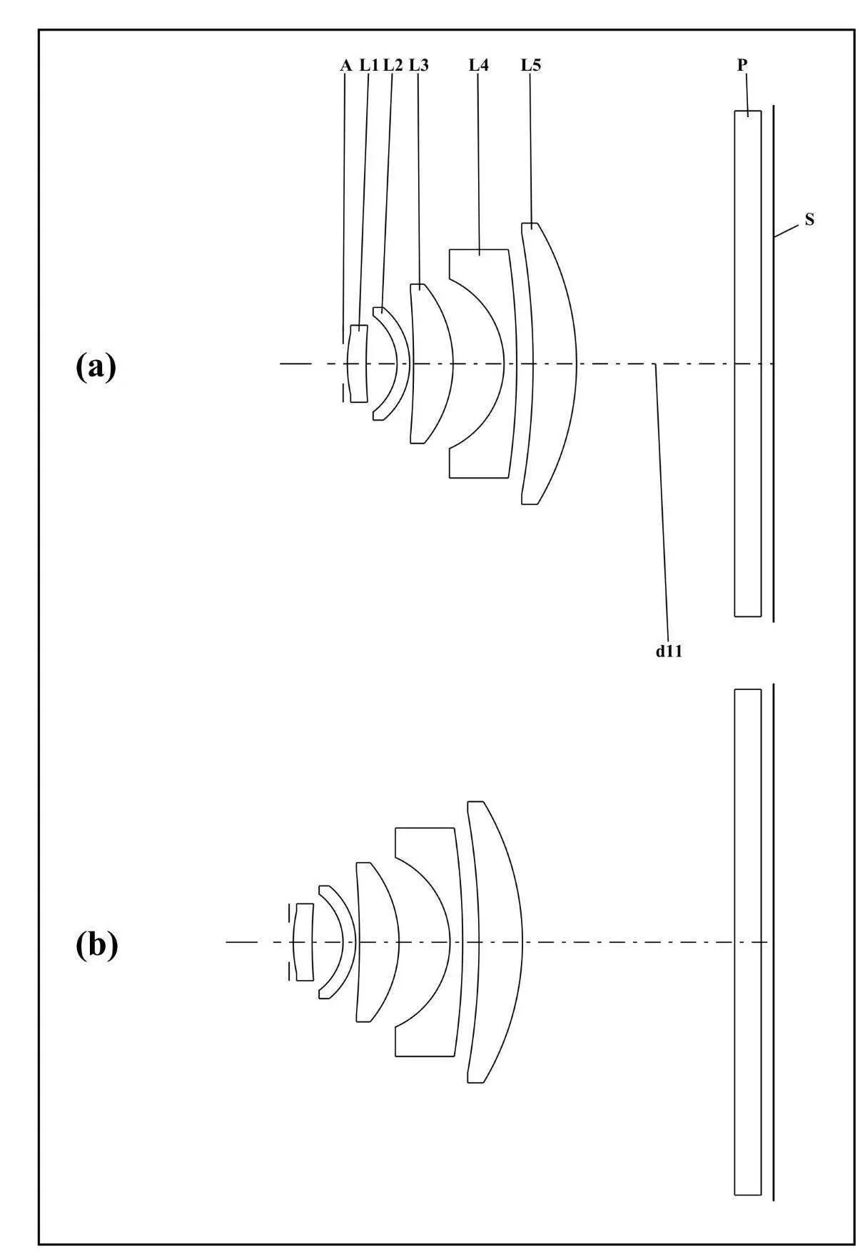
実施例1
- 焦点距離:21.3171
- F値:2.91374
- 半画角:45.4058
- 像高:19.0940
- 全長:37.0000
実施例2
- 焦点距離:28.3752
- F値:8.01107
- 半画角:37.3263
- 像高:21.1950
- 全長:34.0002
実施例3
- 焦点距離:22.6563
- F値:5.85131
- 半画角:43.8222
- 像高:19.5960
- 全長:34.0001
実施例4
- 焦点距離:24.7165
- F値:7.96280
- 半画角:41.1960
- 像高:19.7600
- 全長:33.9990
「LUMIX S 26mm F8」の研究開発過程で生まれた光学系なのか、また別の製品を検討しているのか今のところ不明。「26mm F8」と被らないように投入するとしたら、「22mm F5.6」あたりでしょうか。
似たようなサイズで「21mm F2.8」の実施例があるので期待したいところ。できれば絞りやAFに対応していると良いですねえ。
| LUMIX S 26mm F8 | |||
| 楽天市場 |
Amazon |
キタムラ |
|
| ビックカメラ | マップカメラ | ||
| メルカリ |
キタムラで中古在庫を探す |
||
特許関連記事
- キヤノン「150mm F1.4 IS」「200mm F1.8 IS」「300mm F2 IS」光学系の特許出願
- パナソニック「28mm F8」「22mm F5.6」「24mm F8」光学系の特許出願
- シグマ「28mm F1.2」「24mm F1.2」光学系の特許出願
- VILTROXのティルトシフトレンズに関する特許出願
- タムロン「28-70mm F2」光学系の特許出願
- シグマ「200mm F2 OS」「300mm F2.8 OS」光学系の特許出願
- ソニーの視線入力AFに関連するファインダーの特許
- キヤノン「200-500mm F5.6」光学系の特許出願
- キヤノン「28-400mm F3.5-6.3 IS」「28-400mm F4-8 IS」光学系の特許出願
- キヤノン「50-150mm F2.8」「70-180mm F2.8」光学系の特許出願
広告
*手動広告を試験的に導入しています。 ![]()
期間限定セール
- DxO ソフト全品20%オフクーポン「asobinet」
*既存ユーザーでも新規アカウントで適用可能 - DXO 2製品購入で20%OFFセール
- Insta360 最大3万3600円オフ 年末年始スペシャルセール / まとめ記事
- OM SYSTEM ストア 最大33%オフ クリスマスセール&15%オフクーポン配布中 / まとめ記事
- 直販 OM-5 14-150 II キット 134,800円
アウトレットなど
キャッシュバック
カメラメーカー直販・店舗リンク(楽天市場)




