2025年10月8日付けでキヤノンの気になる特許出願が公開。コンパクトなフルサイズミラーレス向け光学系と思われる「50mm F1.2」「35mm F1.8」「65mm F1.8」の実施例を複数掲載しています。
概要
- 【公開番号】P2025149754
- 【公開日】2025-10-08
- 【発明の名称】光学系及びそれを有する撮像装置
- 【出願日】2024-03-26
- 【出願人】
【識別番号】000001007
【氏名又は名称】キヤノン株式会社- 【課題】 小型でかつ高い光学性能を有する光学系を提供すること。
- 【背景技術】
【0002】
近年、撮像装置に用いられる光学系としては、小型で且つ高い光学性能の光学系有することが求められている。- 【0003】
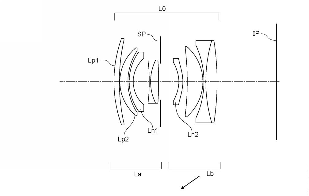
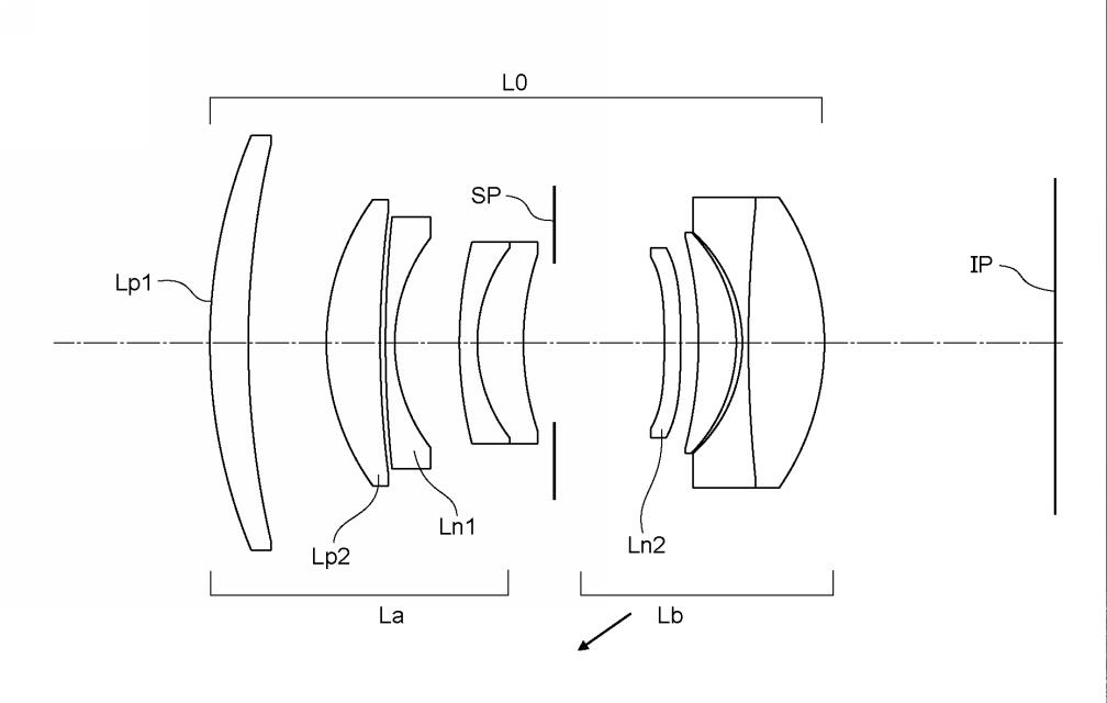
特に半画角が20度から30度程度の撮影光学系として、特許文献1には、ダブルガウスタイプの光学系が開示されている。実施例1
- 焦点距離:48.60
- F値:1.24
- 半画角:24.00
- 像高:21.64
- 全長:85.76
- バックフォーカス:24.00
実施例2
- 焦点距離:35.00
- F値:1.84
- 半画角:31.72
- 像高:21.64
- 全長:60.67
- バックフォーカス:22.20
実施例3
- 焦点距離:65.00
- F値:1.85
- 半画角:18.41
- 像高:21.64
- 全長:110.00
- バックフォーカス:30.00
実施例4
- 焦点距離:68.78
- F値:1.85
- 半画角:17.46
- 像高:21.64
- 全長:115.82
- バックフォーカス:34.05
現代的なレンズと比べると(比較的)シンプルな設計の大口径レンズですね。バックフォーカスが短いのでミラーレス向けの光学系と思われます。リアフォーカスのため鏡筒の全長に変化はなく、AF速度はそこそこ速いのではないかなと(ギア式STMの繰り出し式と比べると)。
これらが実際に商品化されるかどうか不明ですが、噂では「45mm F1.2 STM」が登場すると言われています。このような光学系を採用したレンズが近いうちに日の目を見るのかもしれませんね。
| RF50mm F1.8 STM | |||
|---|---|---|---|
| 楽天市場 | Amazon | キタムラ |
|
| キタムラで中古在庫を探す |
|||
特許関連記事
- シグマ「85mm F1.2」「105mm F1.4」「135mm F1.4」光学系の特許出願
- シグマ「125-700mm F6.3-9」「150-600mm F5-6.3」光学系の特許出願
- XF23mmF2.8 R WR関連と思われる光学系の特許出願
- キヤノン「130mm F1.8」「300mm F2.8」「500mm F5.6」光学系の特許出願
- キヤノン「85mm F1.4」「135mm F2.0」「55mm F1.8」光学系の特許出願
- タムロン 90mm F/2.8 Di III MACRO VXD と思われる光学系の特許出願
- シグマ「135mm F1.4」「180mm F1.4」「100mm F1.25」光学系の実施例
- キヤノン「10mm F2.8」「12mm F2.8」「18mm F2.8」「28mm F2.8」光学系の特許出願
- ニコン 空冷用ファンを搭載するカメラに関する特許出願
- ニコン「18mm F1.2」「24mm F1.2」「35mm F1.4」を想定したような光学系の特許出願
広告
*手動広告を試験的に導入しています。
![]()
期間限定セール
- OM SYSTEM ストア がホタル撮影特集で10%オフクーポンを配布中 / 対象製品一覧
- OM SYSTEM ブランドの双眼鏡が10%オフで購入できるクーポンを配布中
- Amazon初夏のお買い得SALE~6月2 / まとめ記事
- SmallRig 最大30%オフ 初夏ビックセール -6/2
- Antigravity A1 20%オフ
アウトレットなど
キャッシュバック
カメラメーカー直販・店舗リンク(楽天市場)



