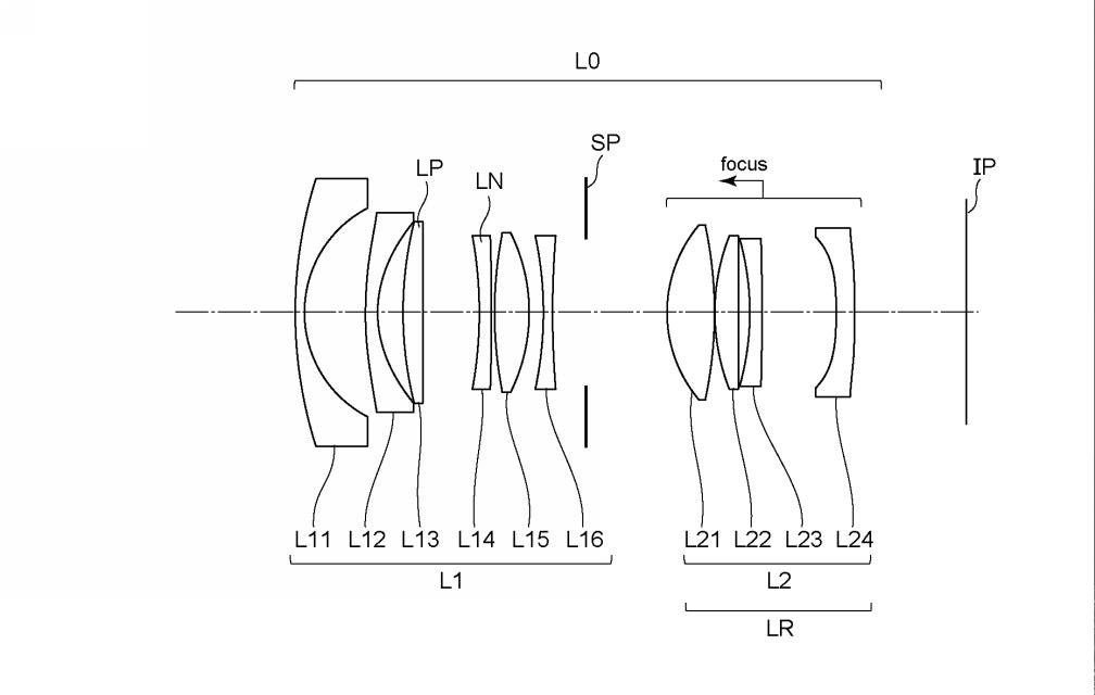
2026年1月29日付けでキヤノンの気になる特許出願が公開。「35mm F1.2」「24mm F1.2」など大口径の広角レンズを想定したような光学系の実施例を複数掲載しています。
概要
- 【公開番号】P2026013481
- 【公開日】2026-01-29
- 【発明の名称】光学系及びそれを有する撮像装置
- 【出願日】2024-07-17
- 【出願人】
【識別番号】000001007
【氏名又は名称】キヤノン株式会社- 【課題】 高い光学性能を有し、広角且つ小型な光学系を提供すること。
- 【背景技術】
【0002】
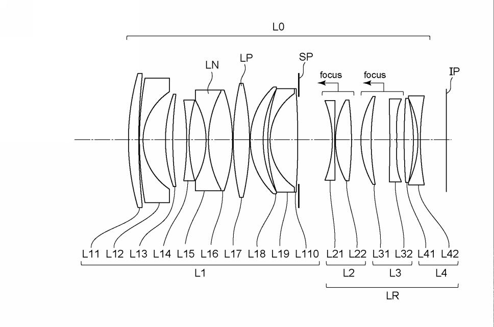
近年、撮像装置に用いる光学系として、高い光学性能を有し、広角且つ小型な光学系が求められている。実施例1
- 焦点距離:34.80
- F値:1.24
- 半画角:31.87
- 像高:21.64
- 全長:135.00
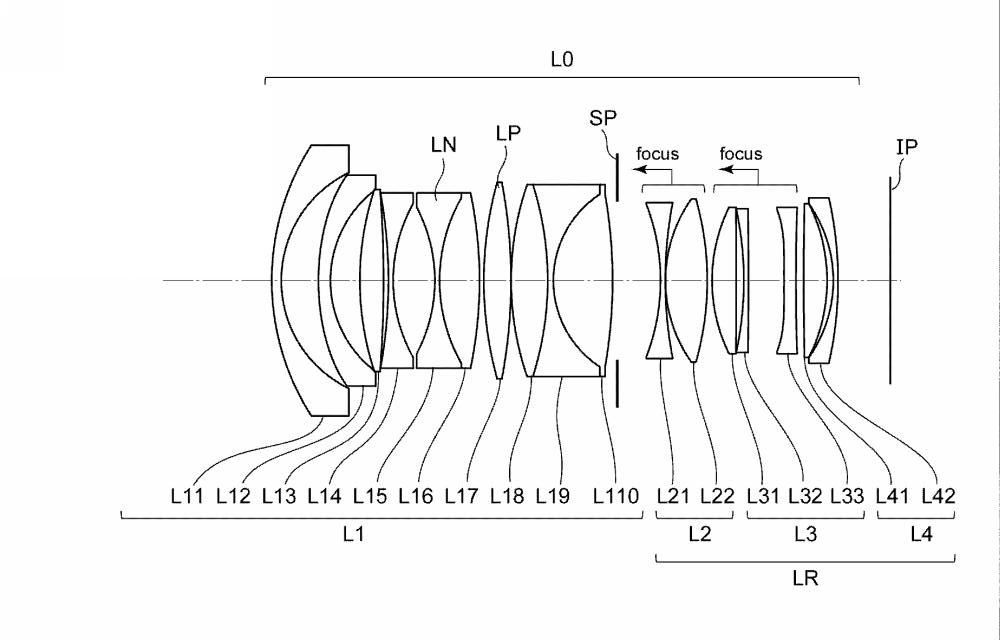
実施例2
- 焦点距離:24.72
- F値:1.24
- 半画角:41.19
- 像高:21.64
- 全長:130.00
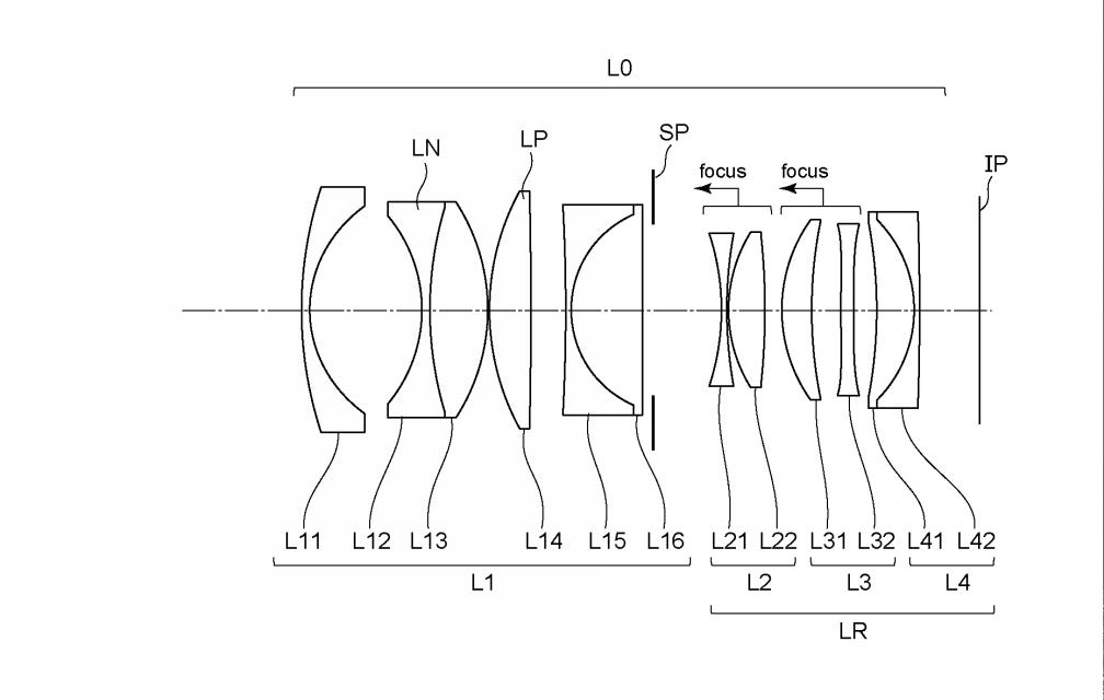
実施例3
- 焦点距離:33.95
- F値:1.44
- 半画角:32.51
- 像高:21.64
- 全長:125.00
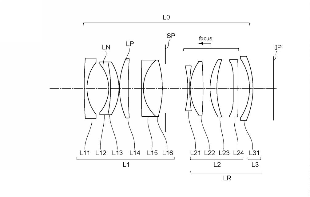
実施例4
- 焦点距離:34.24
- F値:1.85
- 半画角:32.29
- 像高:21.64
- 全長:100.00
実施例5
- 焦点距離:24.72
- F値:1.85
- 半画角:41.19
- 像高:21.64
- 全長:110.00
| RF50mm F1.2L USM | |||
| 楽天市場 |
Amazon |
キタムラ |
|
| キタムラで中古在庫を探す |
|||
特許関連記事
- キヤノン「130mm F1.8」「300mm F2.8」「500mm F5.6」光学系の特許出願
- キヤノン「85mm F1.4」「135mm F2.0」「55mm F1.8」光学系の特許出願
- タムロン 90mm F/2.8 Di III MACRO VXD と思われる光学系の特許出願
- シグマ「135mm F1.4」「180mm F1.4」「100mm F1.25」光学系の実施例
- キヤノン「10mm F2.8」「12mm F2.8」「18mm F2.8」「28mm F2.8」光学系の特許出願
- ニコン 空冷用ファンを搭載するカメラに関する特許出願
- ニコン「18mm F1.2」「24mm F1.2」「35mm F1.4」を想定したような光学系の特許出願
- キヤノン「14mm F1.4」「18mm F1.4」「35mm F1.8」光学系の特許出願
- ニコン「35mm F1.2」「35mm F1.2」「50mm F1.4」光学系の特許出願
- キヤノン 反射透過面を用いた「28-45mm F1.2」「35-70mm F1.4」光学系の特許出願
広告
*手動広告を試験的に導入しています。 ![]()
期間限定セール
【新製品】
アウトレットなど
キャッシュバック
カメラメーカー直販・店舗リンク(楽天市場)




