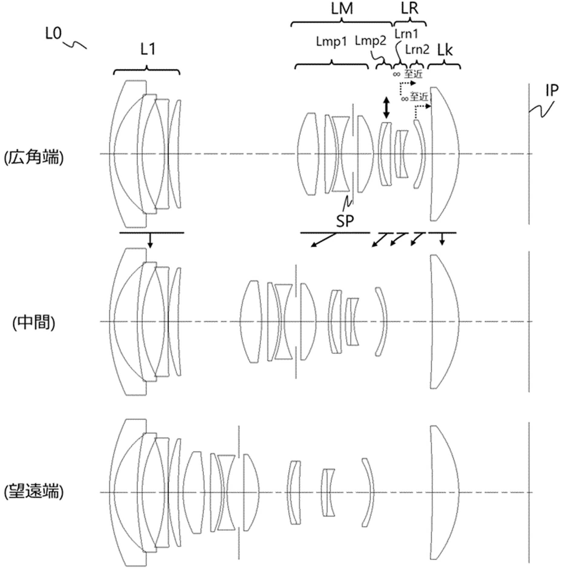
2026年2月5日付けでキヤノンの気になる特許出願が公開。ズーム操作の電動化を想定した「20-60mm F4 PZ」「18-45mm F4 PZ」「16-35mm F4 PZ」と思われる光学系の実施例を複数掲載しています。
概要
- 【公開番号】P2026020012
- 【公開日】2026-02-05
- 【発明の名称】ズームレンズおよび撮像装置
- 【出願日】2025-04-22
- 【出願人】
【識別番号】000001007
【氏名又は名称】キヤノン株式会社- 【課題】ズームレンズにおいて駆動するレンズ群の小型化と軽量化が求められる。
- 【背景技術】
【0002】
バリエータとしてのレンズ群をアクチュエータにより駆動するズームレンズが用いられている。- 【0003】
上記のようなズームレンズでは、アクチュエータの負荷を低減するため、駆動するレンズ群の小型化と軽量化が求められる。実施例1
- 焦点距離:20-48.50
- F値:4.08-4.12
- 半画角:41.81-23.57
- 像高:18.43-21.16
- 全長:114.20
- バックフォーカス:13.50
実施例2
- 焦点距離:20.60-58.20
- F値:4.08-1.12
- 半画角:41.80-19.84
- 像高:18.42-21.00
- 全長:130.00
- バックフォーカス:21.75
実施例3
- 焦点距離:18.56-43.65
- F値:4.08-4.12
- 半画角:46.44-26.37
- 像高:19.53-21.64
- 全長:125.00
- バックフォーカス:20.55
実施例5
- 焦点距離:16.48-33.95
- F値:4.08-4.12
- 半画角:47.56-32.40
- 像高:18.02-21.54
- 全長:118.00
- バックフォーカス:17.58
| RF14-35mm F4 L IS USM | |||
| 楽天市場 | Amazon | キタムラ |
|
| RF-S14-30mm F4-6.3 IS STM PZ | |||
| 楽天市場 |
Amazon |
キタムラ |
|
| ビックカメラ | マップカメラ | ||
| メルカリ |
キタムラで中古在庫を探す |
||
特許関連記事
- キヤノン「130mm F1.8」「300mm F2.8」「500mm F5.6」光学系の特許出願
- キヤノン「85mm F1.4」「135mm F2.0」「55mm F1.8」光学系の特許出願
- タムロン 90mm F/2.8 Di III MACRO VXD と思われる光学系の特許出願
- シグマ「135mm F1.4」「180mm F1.4」「100mm F1.25」光学系の実施例
- キヤノン「10mm F2.8」「12mm F2.8」「18mm F2.8」「28mm F2.8」光学系の特許出願
- ニコン 空冷用ファンを搭載するカメラに関する特許出願
- ニコン「18mm F1.2」「24mm F1.2」「35mm F1.4」を想定したような光学系の特許出願
- キヤノン「14mm F1.4」「18mm F1.4」「35mm F1.8」光学系の特許出願
- ニコン「35mm F1.2」「35mm F1.2」「50mm F1.4」光学系の特許出願
- キヤノン 反射透過面を用いた「28-45mm F1.2」「35-70mm F1.4」光学系の特許出願
広告
*手動広告を試験的に導入しています。 ![]()
期間限定セール
【新製品】
アウトレットなど
キャッシュバック
カメラメーカー直販・店舗リンク(楽天市場)



