2026年3月18日付けでニコンの気になる特許出願が公開。「18mm F1.2」「24mm F1.2」「35mm F1.4」を想定したような光学系の実施例を複数掲載しています。
概要
- 【公開番号】P2026049054
- 【公開日】2026-03-18
- 【発明の名称】光学系、光学機器、および光学系の製造方法
- 【出願日】2023-02-15
- 【出願人】
【識別番号】000004112
【氏名又は名称】株式会社ニコン- 【課題】小型で良好な光学性能を有する変倍光学系を提供する。
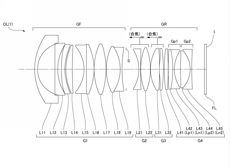
実施例1
- 焦点距離:24.74
- F値:1.23
- 半画角:45.59
- 像高:21.70
- 全長:152.37
- バックフォーカス:12.45
実施例3
- 焦点距離:18.54
- F値:1.24
- 半画角:50.93
- 像高:21.70
- 全長:188.27
- バックフォーカス:12.45
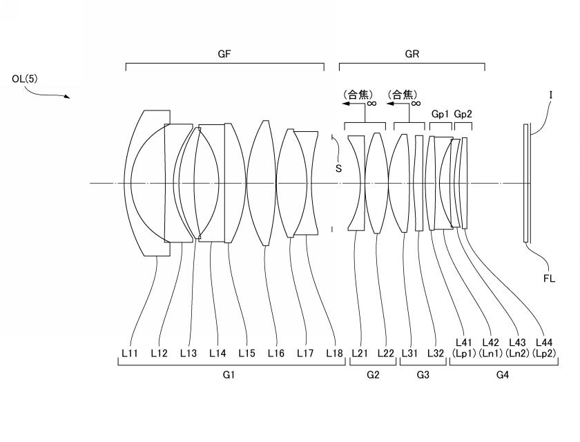
実施例5
- 焦点距離:33.92
- F値:1.46
- 半画角:32.90
- 像高:21.70
- 全長:152.46
- バックフォーカス:23.23
関連レンズ一覧
NIKKOR Z 35mm f/1.2 S
| NIKKOR Z 35mm f/1.2 S | |||
| 楽天市場 | Amazon | キタムラ |
|
| ビックカメラ | マップカメラ | ||
| メルカリ |
キタムラで中古在庫を探す |
||
NIKKOR Z 50mm f/1.2 S
| NIKKOR Z 50mm f/1.2 S | |||
| 楽天市場 | Amazon | キタムラ |
|
| キタムラで中古品を探す |
|||
NIKKOR Z 85mm f/1.2 S
| NIKKOR Z 85mm f/1.2 S | |||
| 楽天市場 |
Amazon |
キタムラ |
|
| キタムラで中古在庫を探す |
|||
特許関連記事
- キヤノン「130mm F1.8」「300mm F2.8」「500mm F5.6」光学系の特許出願
- キヤノン「85mm F1.4」「135mm F2.0」「55mm F1.8」光学系の特許出願
- タムロン 90mm F/2.8 Di III MACRO VXD と思われる光学系の特許出願
- シグマ「135mm F1.4」「180mm F1.4」「100mm F1.25」光学系の実施例
- キヤノン「10mm F2.8」「12mm F2.8」「18mm F2.8」「28mm F2.8」光学系の特許出願
- ニコン 空冷用ファンを搭載するカメラに関する特許出願
- ニコン「18mm F1.2」「24mm F1.2」「35mm F1.4」を想定したような光学系の特許出願
- キヤノン「14mm F1.4」「18mm F1.4」「35mm F1.8」光学系の特許出願
- ニコン「35mm F1.2」「35mm F1.2」「50mm F1.4」光学系の特許出願
- キヤノン 反射透過面を用いた「28-45mm F1.2」「35-70mm F1.4」光学系の特許出願
広告
*手動広告を試験的に導入しています。 ![]()
期間限定セール
【新製品】
アウトレットなど
キャッシュバック
カメラメーカー直販・店舗リンク(楽天市場)


