2025年12月10日付けでキヤノンの気になる特許出願が公開。フルサイズ対応ミラーレス向けと思われる「150mm F1.4」「200mm F1.8」「300mm F2」のようなレンズを想定したと思われる光学系の実施例を複数掲載しています。
概要
- 【公開番号】特開2025-179579(P2025-179579A)
- 【公開日】令和7年12月10日(2025.12.10)
- 【発明の名称】光学系及びそれを有する撮像装置
- 【出願日】令和6年5月28日(2024.5.28)
- 【出願人】
【識別番号】000001007
【氏名又は名称】キヤノン株式会社- 【課題】 長い焦点距離でありながら、軽量で諸収差が良好に補正された光学系を提供することが求められている。
- 【0003】
光学系の焦点距離が長くなるほど、一般的に大型で質量が重くなりやすいため、軽量で諸収差が良好に補正された光学系が求められている。- 【発明が解決しようとする課題】
【0004】
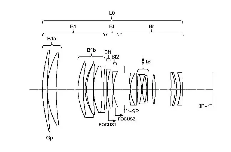
長い焦点距離でありながら、軽量で諸収差が良好に補正された光学系を提供することが求められている。実施例1
- 焦点距離:195.94
- F値:2.06
- 半画角:6.30
- 像高:21.64
- 全長:217.02
- バックフォーカス:38.12
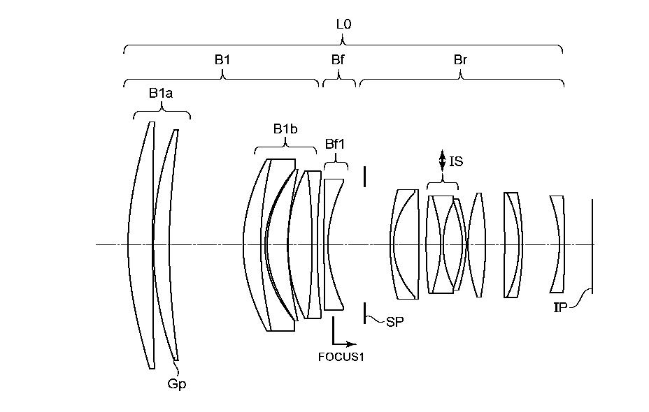
実施例2
- 焦点距離:145.99
- F値:1.44
- 半画角:8.43
- 像高:21.64
- 全長:205.08
- バックフォーカス:12.35
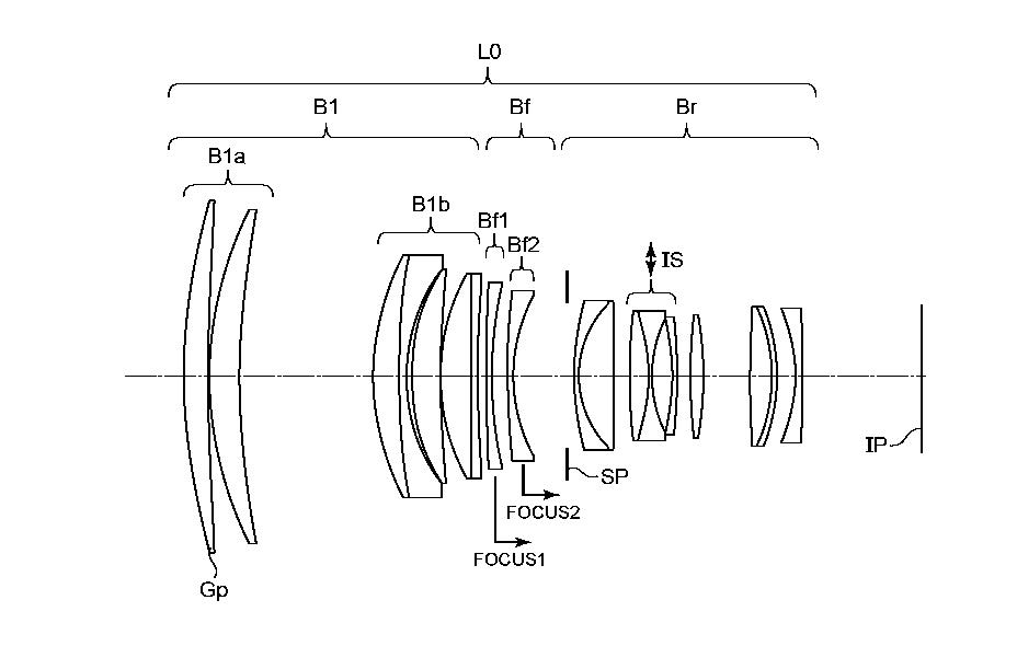
実施例3
- 焦点距離:195.66
- F値:1.85
- 半画角:6.31
- 像高:21.64
- 全長:233.03
- バックフォーカス:37.99
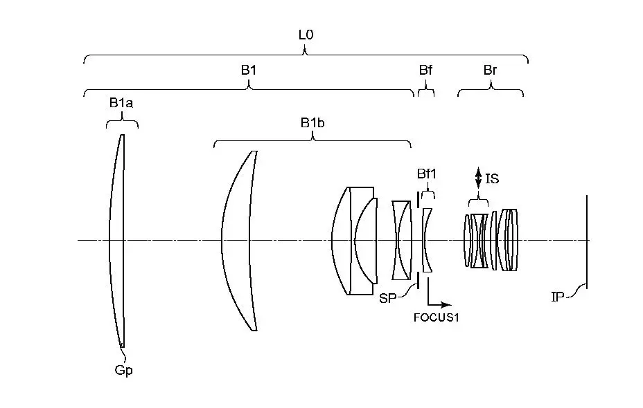
実施例4
- 焦点距離:294.95
- F値:2.06
- 半画角:4.20
- 像高:21.64
- 全長:330.02
- バックフォーカス:47.82
150mm F1.4や300mm F2など、驚くほど大口径の望遠レンズを想定したような光学系となっています。これらが実際に商用化される見込みがあるのか不明ですが、面白い選択肢となりそうですね。
| RF400mm F2.8 L IS USM | |||
| 楽天市場 |
Amazon |
キタムラ |
|
| キタムラで中古品を探す |
|||
特許関連記事
- キヤノン「150mm F1.4 IS」「200mm F1.8 IS」「300mm F2 IS」光学系の特許出願
- パナソニック「28mm F8」「22mm F5.6」「24mm F8」光学系の特許出願
- シグマ「28mm F1.2」「24mm F1.2」光学系の特許出願
- VILTROXのティルトシフトレンズに関する特許出願
- タムロン「28-70mm F2」光学系の特許出願
- シグマ「200mm F2 OS」「300mm F2.8 OS」光学系の特許出願
- ソニーの視線入力AFに関連するファインダーの特許
- キヤノン「200-500mm F5.6」光学系の特許出願
- キヤノン「28-400mm F3.5-6.3 IS」「28-400mm F4-8 IS」光学系の特許出願
- キヤノン「50-150mm F2.8」「70-180mm F2.8」光学系の特許出願
広告
*手動広告を試験的に導入しています。 ![]()
期間限定セール
- DxO ソフト全品20%オフクーポン「asobinet」
*既存ユーザーでも新規アカウントで適用可能 - DXO 2製品購入で20%OFFセール
- Insta360 最大3万3600円オフ 年末年始スペシャルセール / まとめ記事
- OM SYSTEM ストア 最大33%オフ クリスマスセール&15%オフクーポン配布中 / まとめ記事
- 直販 OM-5 14-150 II キット 134,800円
アウトレットなど
キャッシュバック
カメラメーカー直販・店舗リンク(楽天市場)



