2026年3月12日付けでキヤノンの気になる特許出願が公開。「14mm F1.4」「18mm F1.4」「35mm F1.8」など、大口径の広角レンズを想定したような光学系の実施例を複数掲載しています。
概要
- 【公開番号】P2026043301
- 【公開日】2026-03-12
- 【発明の名称】光学系およびそれを有する撮像装置
- 【出願日】2024-08-28
- 【出願人】
【識別番号】000001007
【氏名又は名称】キヤノン株式会社- 【課題】 大口径比でありながら高い光学性能を備え、高速なフォーカシングが可能な光学系を提供すること。
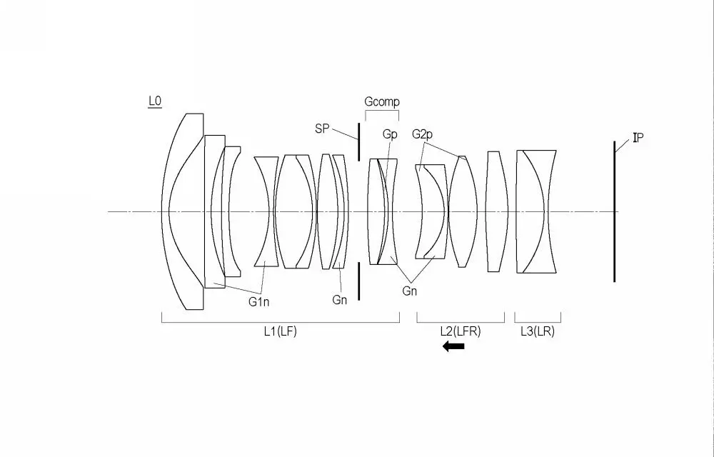
実施例1
- 焦点距離 14.42
- F値 1.46
- 半画角 52.34
- 像高 18.68
- 全長 118.50
- バックフォーカス 14.00
実施例2
- 焦点距離 20.60
- F値 1.46
- 半画角 42.54
- 像高 18.90
- 全長 117.50
- バックフォーカス 18.44
実施例3
- 焦点距離 24.72
- F値 1.46
- 画角 37.40
- 像高 18.90
- レンズ全長 117.50
- バックフォーカス 15.00
実施例4
- 焦点距離 18.45
- F値 1.46
- 画角 45.46
- 像高 18.75
- レンズ全長 121.17
- バックフォーカス 17.78
実施例7
- 焦点距離 34.00
- F値 1.85
- 画角 30.41
- 像高 19.96
- レンズ全長 98.50
- バックフォーカス 14.00
RFレンズ一覧
RF ズームレンズ
- RF10-20mm F4 L IS STM
- RF14-35mm F4 L IS USM
- RF15-35mm F2.8 L IS USM
- RF15-30mm F4.5-6.3 IS STM
- RF24-50mm F4.5-6.3 IS STM
- RF24-70mm F2.8 L IS USM
- RF24-105mm F2.8 L IS USM Z
- RF24-105mm F4 L IS USM
- RF24-105mm F4-7.1 IS STM
- RF24-240mm F4-6.3 IS USM
- RF28-70mm F2 L USM
- RF70-200mm F2.8 L IS USM
- RF70-200mm F4 L IS USM
- RF100-300mm F2.8 L IS USM
- RF100-400mm F5.6-8 IS USM
- RF100-500mm F4.5-7.1 L IS USM
- RF200-800mm F6.3-9 IS USM
RF 単焦点レンズ
- RF16mm F2.8 STM
- RF24mm F1.8 Macro IS STM
- RF28mm F2.8 STM
- RF35mm F1.4 L VCM
- RF35mm F1.8 Macro IS STM
- RF50mm F1.2 L USM
- RF50mm F1.8 STM
- RF85mm F1.2 L USM
- RF85mm F1.2 L USM DS
- RF85mm F2 Macro IS STM
- RF100mm F2.8 L Macro IS USM
- RF135mm F1.8 L USM
- RF400mm F2.8 L IS USM
- RF600mm F4 L IS USM
- RF600mm F11 IS STM
- RF800mm F11 IS STM
- RF800mm F5.6 L IS USM
- RF1200mm F8 L IS USM
RF-S レンズ
- RF-S10-18mm F4.5-6.3 IS STM
- RF-S18-45mm F4.5-6.3 IS STM
- RF-S18-150mm F3.5-6.3 IS STM
- RF-S55-210mm F5-7.1 IS STM
特許関連記事
- キヤノン「130mm F1.8」「300mm F2.8」「500mm F5.6」光学系の特許出願
- キヤノン「85mm F1.4」「135mm F2.0」「55mm F1.8」光学系の特許出願
- タムロン 90mm F/2.8 Di III MACRO VXD と思われる光学系の特許出願
- シグマ「135mm F1.4」「180mm F1.4」「100mm F1.25」光学系の実施例
- キヤノン「10mm F2.8」「12mm F2.8」「18mm F2.8」「28mm F2.8」光学系の特許出願
- ニコン 空冷用ファンを搭載するカメラに関する特許出願
- ニコン「18mm F1.2」「24mm F1.2」「35mm F1.4」を想定したような光学系の特許出願
- キヤノン「14mm F1.4」「18mm F1.4」「35mm F1.8」光学系の特許出願
- ニコン「35mm F1.2」「35mm F1.2」「50mm F1.4」光学系の特許出願
- キヤノン 反射透過面を用いた「28-45mm F1.2」「35-70mm F1.4」光学系の特許出願
広告
*手動広告を試験的に導入しています。 ![]()
期間限定セール
【新製品】
アウトレットなど
キャッシュバック
カメラメーカー直販・店舗リンク(楽天市場)




